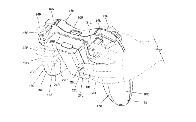
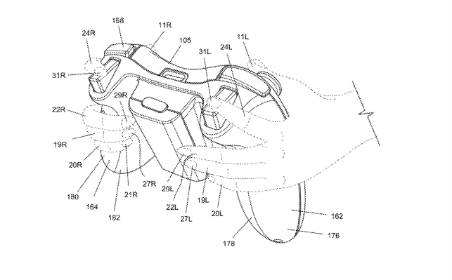
Patent time again folks. This time coming from Microsoft. The patent puts across the idea that a new pad (this generation or next) would be pressure sensitive, with the premise of recognising the player simply from touch. Essentially fingerprint recognition or “personalization using a hand-pressure signature”
Apparently each gamer has a unique hand pressure pattern, so when you pick up the controller, the pressure pads will determine who is holding the device and then deliver personalised content for that particular player. Microsoft’s Kinect can already do this, but by using its camera trickery rather than any kind of touchy method. This of course may turn out to be nothing, but E3 is just around the corner, so this could be the first glimpse of the Xbox 720 controller.
I know Microsoft are known for making big controllers, Who remembers the very first Xbox controller? But if this picture is to scale, I think those of the smaller hand may be in trouble.
Source: USPTO

